Der RaceStar3 (RS3) ist eine konsequente Weiterentwicklung des erfolgreichen RS+ und ist zu 100% Made in EU .
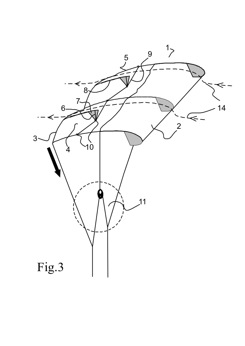
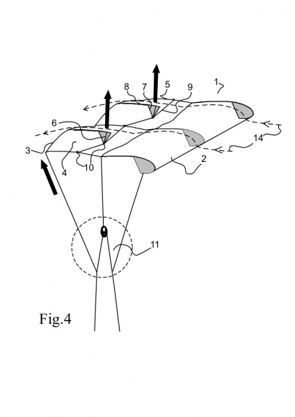
- das patentierte Push-Up System erhöht spürbar die Formstabilität im flachen Anstellwinkel, so dass sich die Aufwindeigenschaften nochmals verbessern
- das 20% leichtere Segeltuch aus Ripstop Nylon mit robusterer PU-Beschichtung (beidseitig) steigert zusätzlich die Leichtwind-Performance
- ein höheres Aspect Ratio von 6.3, sowie die optimierte Form der Flügelenden erhöhen die gute Eigenschaft zum Höhelaufen.
- der RS3 besitzt keine Profil- oder Diagonalrippen an der Segelfläche, dies ermöglicht die schnellste Luftverteilung auf der Unterseite eines Single Skin Kites.
- ein neuer Mix aus reißfesteren und steifen Dyneema®-Leinen (Durchmesser 0,7mm und 0,9mm) reduzieren die Dehnung, so dass ein sportlicheres Flugverhalten erzielt wird.
- der RS3 kann stressfrei ohne zusätzliches „Personal“ aus allen Lagen ( Front, Seitlich und Reverse) gestartet oder gelandet werden
- sehr angenehme Barhaltekräfte sorgen für langes und stressfreies Kiten.
Prinzipiell fliegt der RaceStar3 an jeder 4-Leiner Control Bar, vorzugsweise mit einer Frontleinen Safety.
Jeder RS3 ist für die Nutzung mit einer 5. Leine vorbereitet, das FAS (Front Area Safety) kann bei Bedarf nachgerüstet werden.
Der RaceStar3 wird im praktischen Soft-Bag als „KITE only“ geliefert.
Windbereich: 8-32 knots max. 40 knots (Land)